Fotos recién filtrados desde Dianxinshouji sugieren que Apple podría venir el iPhone 6 con un nuevo cable Lightning que cuenta con un conector USB reversible.
El sitio publicó fotos de los nuevos cables que son según se informa de Foxconn. Echando un vistazo a las imágenes de abajo se puede ver un conector USB que se encuentra en el centro de la carcasa de metal. Cable USB actual de Apple tiene un conector que se une a la parte inferior de la carcasa de metal.
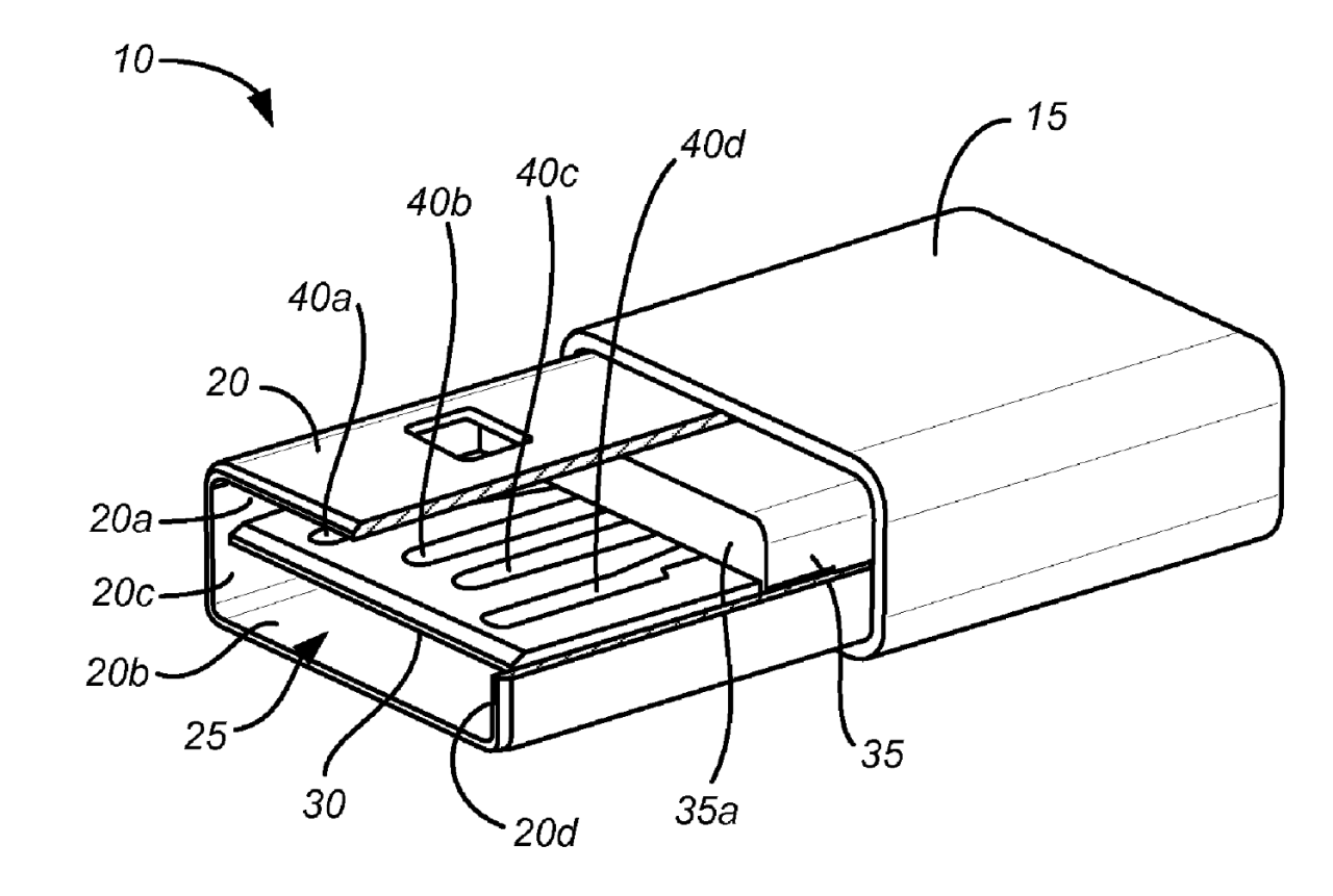
Corroborando el informe Apple presentó una patente para un conector USB reversible.
Las formas de realización pueden proporcionar conectores USB orientación reversibles o doble para acoplarse con conectores hembra USB estándar, por ejemplo, un tipo estándar Un conector de receptáculo USB. Por consiguiente, la presente invención puede ser compatible con cualquier dispositivo electrónico actual o futuro que incluye un conector de receptáculo USB estándar. Conectores USB de acuerdo con la presente invención pueden tener un diseño doble orientación de 180 grados simétrico, que permite que el conector de enchufe para ser insertado en un conector de receptáculo correspondiente en cualquiera de las dos orientaciones intuitivas.
Apple también se dice que está preparando un conector Lightning mejorado que permita la reproducción de alta definiton para accesorios de audio.
Echa un vistazo a las fotos de abajo.





No hay comentarios:
Publicar un comentario