
Una solicitud de patente de Apple ha salido a la superficie que detalla un nuevo método de corte por láser de zafiro en el vidrio de la cubierta para dispositivos electrónicos portátiles como el iPhone, iPad, iPod y Apple Watch. La patente se titula "Sistema y método para SAPPHIRE LASER DE CORTE DE UTILIZAR LOS MEDIOS DE GAS MÚLTIPLE."
De Apple toma nota de que el zafiro es un material duro con una dureza de 9.0 en la escala de Mohs, por lo que es una alternativa atractiva a vidrio o policarbonato. Sin embargo, también es muy frágil y susceptible a las reducciones dramáticas de resistencia cuando hay pequeños defectos en la superficie o borde.
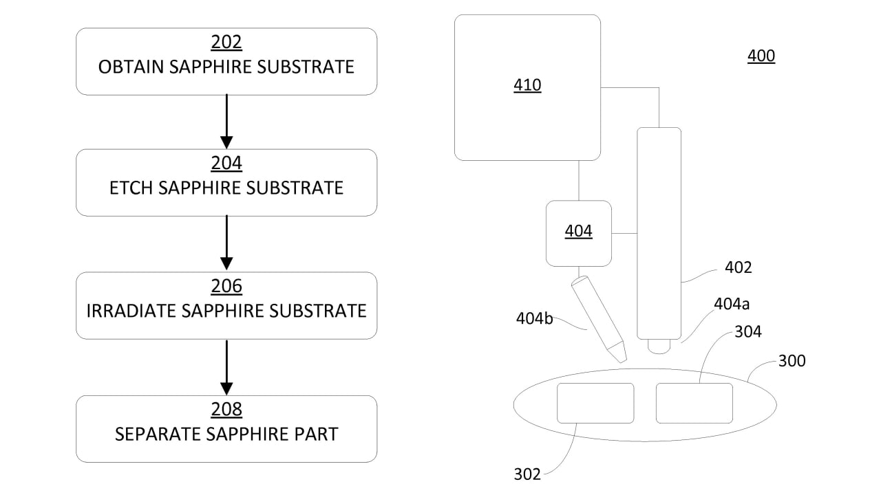
La fabricación de una parte de zafiro sin defectos cercano puede presentar desafíos únicos. La fuerza de un material frágil, tal como zafiro, es limitado debido a la población falla en la superficie o bordes de la pieza. Una superficie o borde acabado inconsistente o inadecuada puede dar lugar a la propagación de microfisuras y el resultado en una parte debilitada. Materiales translúcidos tradicionales como vidrio de silicato son capaces de ser químicamente reforzado para una profundidad significativa para minimizar el efecto de estos defectos, pero en materiales extremadamente duros, tales como el zafiro, un proceso similar no está fácilmente disponible. Además, la dureza del zafiro hace cortar y pulir el material difícil y consume cuando se implementan técnicas de procesamiento convencionales tiempo. Además, las herramientas de procesamiento convencionales, tales como cortadores, experimentan un desgaste relativamente rápido cuando se utiliza en zafiro. Esto aumenta aún más la demanda de recursos cuando la superficie de acabado piezas de zafiro.
Para minimizar los micro-defectos, Apple ha ideado un sistema y método para producir cortes de borde de alta calidad de forma rápida, la moda repetible utilizando un proceso de corte por láser que utiliza más de un medio de gas para ayudar a eliminar el material y también el control de la decoloración que pueden ocurrir durante el proceso de corte.
En particular, un proceso de corte por láser de fusión puede ser usado para producir una pieza de zafiro tiene un borde aceptable y acabado de la superficie. Durante un corte de fusión, un rayo láser se utiliza para calentar y fundir parcialmente una porción del material de zafiro. Una corriente dirigida de gas se utiliza entonces para eliminar el material fundido dejando un vacío o depresión en el material de zafiro. La eficiencia y el borde de acabado producida por un corte de fusión puede ser superior a otros tipos de técnicas de corte por láser, incluyendo, por ejemplo, técnicas de corte por láser de ablación o trazado por láser.
Aunque, Apple está utilizando cristal de zafiro para el reloj de Apple, no está claro si la compañía será capaz de obtener cantidades y rendimientos suficientes para llevar una cubierta de la pantalla de cristal de zafiro para el iPhone en un futuro próximo. Es intento anterior para producir de zafiro con terminó GT Advanced horrible y todavía tenemos que escuchar los rumores sustanciales sobre un nuevo proveedor que tiene lugar del GT.
No hay comentarios:
Publicar un comentario